本報記者 邢萌
2月20日,滬深交易所開始接收主板首發、再融資、并購重組在審企業申請,全面注冊制進入落地實施階段。
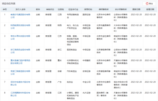
當日晚間,截至記者發稿,據滬深交易所網站,已有15家主板在審企業的首發申請獲受理,滬市有7家,深市有8家。


根據證監會對在審主板項目的相關安排,2月20日至3月3日,滬深交易所接收主板首發、再融資、并購重組在審企業提交的相關申請。3月4日起,滬深交易所開始接收主板新申報企業提交的相關申請。
(編輯 喬川川)
香港證監會就虛擬資產交易平臺相關監管規定展開咨詢2023-02-20 21:28
全面注冊制來了:破發、退市或成常態2023-02-20 20:58
全面注冊制提升價值發現效率 倒逼機構加強投研和風控能力建設2023-02-18 06:23
北交所做市交易下周啟動 引入更多增量資金2023-02-18 04:00
全面實行股票發行注冊制制度規則發布實施2023-02-18 04:00
| 17:53 | 奧特佳:公司持續跟蹤汽車行業和儲... |
| 17:53 | 富祥藥業:目前公司鋰電池電解液添... |
| 17:53 | 四會富仕:航空航天領域對高性能PC... |
| 17:53 | 華寶股份:股價的波動受多重因素的... |
| 17:53 | 岱勒新材:公司與藍思科技一直在業... |
| 17:53 | 深賽格:截至11月28日公司股東人數... |
| 17:53 | 建發致新:目前沒有組織開展腦機接... |
| 17:53 | 萬馬股份:2025年9月末公司股東總... |
| 17:53 | 康平科技:公司未收購搜鹿公司 |
| 17:53 | 陜西華達:公司重視商業航天動態,... |
| 17:53 | 星宸科技:截至11月30日股東總戶數... |
| 17:53 | 中環環保:公司目前經營穩健,發展... |
版權所有證券日報網
互聯網新聞信息服務許可證 10120180014增值電信業務經營許可證B2-20181903
京公網安備 11010202007567號京ICP備17054264號
證券日報網所載文章、數據僅供參考,使用前務請仔細閱讀法律申明,風險自負。
證券日報社電話:010-83251700網站電話:010-83251800 網站傳真:010-83251801電子郵件:xmtzx@zqrb.net
掃一掃,即可下載
掃一掃,加關注
掃一掃,加關注